各位嘉宾、贵人,如果对以上的“推荐”感兴趣,请阅读之后的《技术白皮书》和《点点手机版下载官网网址是多少》作更深一步了解(详下页)!
在此
表示欢迎!
坎式模板体系主要由“坎式模板”、“锥顶螺母合成螺杆”、“内顶盖”及沿袭和保留了原体系中的钢管、扣件、方档、伞形卡等构件组成。
一、体系主件坎式模板
(一)模板的形态设置
1、正方形坎式边缘:在“平面型”模板的“外形”基础上,将模板四条边的“平直”侧面,改造成以侧面(板厚)中心线为界线(板厚 1/2 处),单边(半面)形成带有“正方形坎条形状”的模板(与台阶式“企口”相类似)。
2、“坎”的阴阳:当给模板配制一系列规格尺寸后,将所有比规格尺寸“凸出”的“坎”设定为“阳坎”;“凹进”的“坎”设定为“阴坎”。
3、坎式模板的三个类别:当模板宽度两端均为上述所称的“阳坎”(比规格尺寸凸出)时,便称之为“阳板”;两端均为上述所称的“阴坎”(比规格尺寸凹进)时,便称之为“阴板”;两端为一阴一阳“坎”时,便称之为“中板”(也称:阴阳板)。且上述三类模板在高度方向的两端均设定为一阴一阳“坎”。(可参见下图)
附图说明:上图为坎式模板之中的单孔模板,除此之外还有“单排2 孔、3 孔、4 孔”及“双排4 孔、6 孔、8 孔”等未在图示之内。由于模板边缘坎的分布位置不同造成模板的两个面尺寸会不相同,图中把“双面”模板中的设定的规格尺寸面用浅灰色表示(标色),这其中中板宽度的两个面均与规格尺寸同(只是板两面成对角菱形斜槎)均用“浅灰”色(标色);阴板非规格面比规格尺寸小的模板面采用“深灰”色(标色);阳板的非规格面比规格尺寸大的模板面采用“乳白”色(标色)。图中“h”表示为模板厚度,“k”表示为坎式边缘的宽度及厚度,k=h/2(二分之一板厚);“b”为各隶属板宽度的规格尺寸。
(二)模板设置与构件特征
1、建筑构件宽度特征
构件宽度面是指:竖向构件(柱、墙板)投影在平面上线段的宽度(另含水平构件的梁底宽度)。其特征是基本为平面(非弧面);面与面的夹角基本是直角(阴角或阳角);且宽度面尺寸的“尾数”基本是“逢五逢十”(尾数:5 或0mm)。且上述“宽度面”可归纳为三种(个人观点):
(1)“构件阴面”:为两条阴角边所夹的宽度面(“U”、“回”型墙板的某几段);
(2)“构件阳面”:为两条阳角边所夹的宽度面(矩形柱或直线型墙板四个面及梁底);
(3)“构件阴阳面”:为一条阴角边与一条阳角边所夹的宽度面(“L”型或“T”型柱、墙板的某一段)。
2、坎式模板的“特征”(着重强调宽度特征:标码、加码、减码、等码)
三类板的“规格宽度面”尺寸的尾数均“逢五逢十”且各自的“非规格面”特征如下:
(1)阴板(减码):规格宽度面(也称:标码面)的背面为“减码”面,两端各小1k 计小“-2k”;
(2)阳板(加码):规格宽度面(也称:标码面)的背面为“加码”面,两端各大1k 计大“+2k”;
(3)中板(等码):两面均为规格宽度面“两面等码”且“板两面成对角菱形斜槎”(详见前模板图)。
3、规格尺寸的设定(包括但不限于)
(1)宽度规格:
阴板:30、35、40cm
阳板:20、25、30、35、40、45、50、55、60cm中板:25、30、35、40、45、80cm
(2)高度规格:
阴板、阳板、中板均为:40、80、120、160cm[注]:当中板宽度为 40、80cm 可与中板高度尺寸互换,改换成:高度40、80,宽度 40、80、120、160(模数和特征都相同)。
注:对上述规格的模板备有完整的一套图纸
4、模板及其组合所对应的三种面
(1)阴板或成阴板特征的组合(阴板的扩延模块)适合构件阴面的拼模;
(2)阳板或成阳板特征的组合(阳板的扩延模块)适合构件阳面的拼模;
(3)中板或成中板特征的组合(中板的扩延模块)适合构件阴阳面的拼模。
(三)模板特征的归属及其模块化拼模
模块:任意单块模板均可认定为“基础模块”(为模块的最小单元);
扩延:扩延是“模块化”的核心,是一种尺寸和特征的归属。其中“扩”是模板之间的相拼“扩展”了模板的最终尺寸;“延”:是模板之间的相拼“延续”(或)呈现出某种板的特有属性(有以下三种类型)。
1、一般扩延:“某块模板”与中板(单块或多块连续)宽度面相拼,可“扩展”为相拼板“尺寸之和”;两端的“坎”仍旧“延续”某块模板的特征(与“中板”相拼具有这种“一般扩延”特性)。但其中只有“某块模板”为阳板时才能进行这种“一般扩延”(只有阳板参与的组合才能成为易拆组合);而其他模板需先组合成易拆组合后才能进行。
2、替代扩延(均属易拆组合):[注:易拆组合将在合成螺杆章节中详解]
(1)组合标码(替代扩延):阴板与阳板组合后“两面等码”(呈现中板特性)且等于“两板规格面尺寸之和”(标码之和),可“替代中板”,进行“扩延”。
(2)组合加码(替代扩延):由阳板与阳板的加码面组合后也会呈现出“中板特征”(两面等码)等于“两板规格面之和+2k”,也可“替代中板”,进行“扩延”,且只适合构件阳面“入槽”段的拼模
(注:“入槽”段将在之后的“拼模要领”中详解)
(3)组合减码(替代扩延):由阴板与阴板减码面组合后同样也会呈现“中板特征”(两面等码)等于“两板规格面之和-2k”,也可“替代中板”,进行“扩延”,且只适合构件阴面“入槽”段的拼模。
3、综合扩延:“某块模板”先“替代扩延”成为“易拆组合”后再进行“一般扩延”(含连续地 “一般扩延”)。
(四)模板的扩展型穿螺杆孔(作为定型组合式模板其穿螺杆孔的位置和孔径需事先设定)
1、孔心:中心位置与板的“净宽”及“净高”的中心线对称,“孔”间距40cm。
2、孔径:固定位穿螺杆孔宽度方向可能与模板内竖向钢筋,高度方向在矩形柱、“L”、“T”型
墙板拐角横向或纵向螺杆均有发生“碰撞”概率。所以在固定位穿螺杆孔孔径设置时采用了“扩展孔”孔径设定为 7.5cm,在体系其他构件的协同下可避免上述两种“碰撞”。
(五)有必要对模板材料性能进行改造和提升:
在原“平面型”模板有大量裁损、拆损的工作状态下,试图通过提升和改进材料性能来延长模板的重复使用率的努力会得不偿失的。多年来市场也曾推出“中空”、“低泡结皮”等“平面型”(非定型组合)塑料模板,但均未撼动多层木胶合模板作为“低值易耗品”的市场地位。
坎式模板定型组合式的模块化拼模和借助“锥顶螺母合成螺杆”的“有着力点”的拆模,改变了“平面型”模板原有的工作状况,才使得对模板所采用的原材料进行改造和性能的提升有了必要(可采用木塑或塑料等材质)。这样不仅能在较小投入的情况下,使“坎式模板”的“全寿命周期”更长,而且能全部回收使用(维修和重新制作成本均较低),且能成为一个具有环保意义的新产品。另外,在当前建筑市场不景气的状况下,可用滞销的木胶合模板进行转型升级,采用“塑包木”的形式制成坎式模板也是相当好的选择。
(一)锥顶螺母:是在原螺杆的两端各增设了一个“外六角锥顶螺母”(见下图)。
说明:图左为“锥顶螺母”主视图,中为侧视图,右为剖视图,“锥顶螺母”一端为外六角,中间段为圆柱,另一端为锥面体(中间凹槽内设橡胶垫片),整个中心是“T12内螺纹”(可以拧在螺杆上)。
(二)“内顶盖”及“顶托”:在模板设有“扩展型穿螺杆孔”以后,需要增设个大底座的“内顶盖”,且能最小限度地“盖”住“扩展孔”。该设制既是模板“扩展型穿螺杆孔”的盖,又是“锥顶螺母”的“托”,可有选择地避开螺杆与竖向钢筋(左右各偏心 2.5cm)及拐角处螺杆相互碰撞(上下偏离 1.7cm),为模块化的实际可操作性奠定了基础;使得前两个“解决方案”(模块化和借助合成螺杆拆模)有了现实意义(内顶盖及顶托图示如下)。
说明:左图为内顶盖其直径14cm,中心内锥面与锥顶螺母外锥面吻合,内顶盖底板设有橡胶垫圈;右图为顶托且仅用于局部不合模数的自制板部分。
(三)合成螺杆与内顶盖及顶托的组合
1、普通合成对拉螺杆组合示意图
2、合成止水螺杆组合示意图
3、单边拉结(仅用于无须对拉的构件部位)及单边拉结锚固螺杆组合(用于拉墙筋部位)示意图
4、顶托与合成螺杆组合(用于需要“自制板”镶坎模板的部位)示意图
5、“锥顶合成螺杆”及“内顶盖”在模板支护中的配合
(高度方向立面剖视图):
说明:图中除“锥顶螺母”和“内顶盖”外的其他构件均为“现有技术”,通过对“螺杆”的改进使螺杆在保持原有的能抵御浇砼时对模板的侧压力外,增强了“顶”、“连”,特别是增加了“拆”(拆模)的功能。
6、“合成螺杆”均具有连接和拆除模板的功能,但也有各自的分工(如下):
(1)对拉螺杆:还具有“对拉”、“对顶”的功能,用于墙、柱、梁侧板。
(2)止水螺杆:比“对拉螺杆”多一个“止水”功能,用于须有防水功能的部位(三段式)。
(3)单边拉结螺杆:仅只有“连”和“拆”的功能,用于楼板等无须“对拉”的部位。
(4)单边拉结锚固螺杆:比“单边拉结”螺杆多一个“锚固”功能,用于须有“拉墙筋”,“连墙杆”等特殊部位。
三、体系新成员的有益效果(作用)
(一)“锥顶螺母合成螺杆”与“内顶盖”(含顶托)所起到的作用
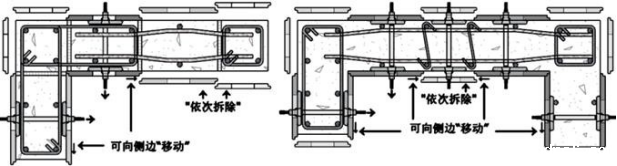
1、首次增设了拆模功能是对所有模板体系的一项重大突破含有拆模功能在迄今为止的建筑模板体系中尚属“首创”,针对的是建筑模板体系中的严重缺陷,这不光可节省拆模工作量,并使拆模对模板的损害下降到几乎为零且该拆模体系应具备以下三个条件。
(1)“易拆组合”:因坎式模板的平面拼接都是阴阳坎相互“偶合”且坎坎相扣,所以由各模板组合成的平面至少要有一块“依次拆模”的起始板(阳板),且只有这样的组合才可称之为“易拆组合”
(参见下图的“依次拆除”)
(2)双拆条件”:当“依次拆模”到阴角时,组成阴角(90º)的两块模板在宽度方向同时均有可向“侧边”移动的“空间”(见之下的“可向侧边移动”参考图)。
(3)有“着力点”:拆模是通过旋转合成螺杆上的“锥顶螺母”依靠“内顶盖”(或“顶托”)“顶”顶住模板作为“着力点”,且各“着力点”的间距在45cm×45cm 范围之内,使“拆模”相当方便和快捷且对模板造成的损伤几乎下降到“零”。
2、增强了的模板间的“连接”是体系运行的必要保障
所有合成螺杆均具有“连接”功能,通过合成螺杆上的“锥顶螺母”压住“内顶盖”将相邻模板共同“拉”向钢管产生的“连接”(包括对拉之外的单边拉结),比原螺杆“顶”向模板的力矩短、顶面大(内顶盖直径 14cm)、稳定性好,且数量多(间距 45×45cm),“连接”得到很大增强,是新体系崭新的模板连接形式;也是新体系小型模板得以较好拼模“连接”的保障,这特别在针对“大阳角”
(见下“U”型墙板图中左、右上角)段(相邻模板)的拼模中起“至关重要”的作用。
附图说明:图中不需“对拉”部位,
用“单边拉结”同样能起“连接”作用(见图左、右两上角),使“小规格”得以很好拼模。图中还展示了“扩展型穿螺杆孔”螺杆可向“孔”中心侧移(最大25mm)能避开直径30mm之内的所有竖向钢筋。另外,墙板阴角模板尺寸较小时(一般阴板的设置不小于30cm、中板不小于25cm)。
2、增强了的模板间的“连接”是体系运行的必要保障
所有合成螺杆均具有“连接”功能,通过合成螺杆上的“锥顶螺母”压住“内顶盖”将相邻模板共同“拉”向钢管产生的“连接”(包括对拉之外的单边拉结),比原螺杆“顶”向模板的力矩短、顶面大(内顶盖直径14cm)、稳定性好,且数量多(间距45×45cm),“连接”得到很大增强,是新体系崭新的模板连接形式;也是新体系小型模板得以较好拼模“连接”的保障,这特别在针对“大阳角”(见下“U”型墙板图中左、右上角)段(相邻模板)的拼模中起“至关重要”的作用。
附图说明:图中不需“对拉”部位,
用“单边拉结”同样能起“连接”作用(见图左、右两上角),使“小规格”得以很好拼模。图中还展示了“扩展型穿螺杆孔”螺杆可向“孔”中心侧移(最大25mm)能避开直径30mm之内的所有竖向钢筋。另外,墙板阴角模板尺寸较小时(一般阴板的设置不小于30cm、中板不小于25cm)。
(二)坎式模板的作用
1、长期困扰本行业的质量“通病”得到有效制止(意外收获)
首次采用“坎”(类似企口方式)来辅助模板间的拼接,目标是为了建立“平面薄板型”的“定型组合式”模板体系,而因为“坎”的作用对拼接处易夹渣、缩颈、等质量“通病”的有效克服起到很好的作用(不予展开),特别是无意间阻止浇砼时模板拼缝处的大面积、大范围的“漏浆”,这在之前是不可想象的,使砼体的内在质量得到极大提高,并减少了相当数量的清理浮浆的劳动力费用。
2、正方形“坎”的设置使“定型组合”得以实现根本性地提高了重复使用率
“平面薄板型”(裁据式)模板,若也想改造成“定型组合式”模板体系,光给予设定一系列长宽规格尺寸是不够的,需要有“阴阳角模”纳入体系之中。在只有 2cm 厚度的薄板中设置“角模”及其连接,在很长时间内无法破解,但正方形坎式边缘的设置解决了这一难题。
“正方形坎式边缘”的设置使每一块“坎式模板”既是平面模板又仿佛同时也是角模:
(1)当模板的两端与其他模板平面相拼的时候,该模板是平面模板;
(2)当模板的两端与其他模板直角相拼的时候,该模板又是角模(阴角或阳角)模板;
(3)当模板的一端与平面相拼而另一端与直角相拼的时候,该模板一半平面一半角模。
3、构件宽度面“连角带边”地“模块化”拼模使“镶坎量”几乎为零(先介绍几个概念后再叙拼模)
概念 1:“连角带边”:是指在整个平面拼模的同时与相交面的角部拼模也同时完成(未专门的阴阳角模板)。
概念 2:“镶坎量”:是指采用本模板的拼模方法还不能满足构件尺寸,需要用专门的其他“板材”来进行拼接的量。
概念 3:“模块化”(详前)
(1)规格范围内(逢五逢十)模块化拼模要领:选择模块、规格对齐、其他入槽、方向统一。选择模块:根据构件宽度面特征(阴面、阳面、中面)选择相对应的“模块”(含组合)。
规格对齐:模板规格尺寸面及由规格尺寸相组合面的两端与构件面两端的角边线对齐。
其他入槽:模板的“加码面”(阳板)及由“加码面”或“减码面”(阴板)与其他规格尺寸相组合面的两端对入角部相交(90º)板的坎槽中。
方向统一:这里的方向是指在平面 90º相交的横向x 轴或纵向y 轴,当选择(可任选)x 方向为“规格对齐”时,在区间内的x 方向均需统一,而y 方向的“其他入槽”也统一。
附图说明:
以上 A~J 图均为竖向构件(柱、墙板)的模板拼模平面图。图中模板的色标(同前)“浅灰”为模板的规格尺寸面,“乳白”为阳板的“加码面”,“深灰”为阴板的“减码面”。
图中标明的“k 条(余同)”长度为板厚、宽度为 1/2 板厚(可事先备制),一般用于构件阳面的“简单加码”段拼模,简单加码是相较于“组合加码”的一个加码概念,拼模时可将“规格面”及规格组合面的反面“朝向砼”并在阳板的两端加上“坎条”(用方档压住)。
图 A 为单块阳板完成的矩形柱拼模,采用横(x 轴)向“规格面对齐”,当“k 条”处在角部时为“宜加”。图 B 也为单块阳板完成的矩形柱拼模,采用纵(y 轴)向“规格面对齐”。
图 C、D 为阳板的“一般扩延”来完成矩形柱或直线型墙板的拼模,其中 C 图采用纵(y 轴)向“规格面对齐”,横(x 轴)向为“一般扩延”后的“简单加码”,D 图采用横(x 轴)向“规格面对齐”且是一种连续地“一般扩延”
(阳板位置可不受限制)。
图 E 为阳板的“替代扩延”来完成较大尺寸矩形柱的拼模,其中横(x)向采用“标码替代”(组合标码)“规格面对齐”,纵(y)向采用“加码替代”(组合加码),对入角部 90º相交板的坎槽中。
图 F、G 主要为阴板的“替代扩延”来完成构件阴面的拼模,其中 F 图为阴板的“标码替代”(组合标码)“规格面对齐”;G 图为阴板的“减码替代”(组合减码)对入相交板的坎槽中。
图 H、I 主要为单块中板完成的“L”形柱阴阳面段的拼模,由于中板两面均为“规格面”在拼模时,只要是选择了横(x)向“规格面对齐”,那么纵(y)向的中板就“入槽”;其中 H 图采用了横向对齐,I 图采用了纵向。
图 J 主要为直接的“标码替代”来完成构件阴阳面段的拼模,由于中板的“一般扩延”(两块中板的组合)不属于 “易拆组合”,图中阴阳面采用了“标码替代”,并将该纵向采用“规格面对齐”,而与之 90º相交的横向(端部阳板等)需“其他面入槽”。
补充一个相对完整(三种面俱全)的平面拼模(参考)图:
图中宽度标注中的序号“01”、“02”、“03”分别代表“阴板”、“阳板”、“中板”,括号内的“b”表示为隶属于序号板的所有宽度规格尺寸,其中“b+2k”表示为阳板的加码面,“b-2k”表示为阴板的减码面,“01(z)”表示为阴板的自制(非标规格仿制)板。上图采用了纵向(y 轴)“规格面对齐”区段统一;横向(x 轴)“其他面入槽”区段统一。“区段统一”是指一个相对独立的区段,这个区段如果是在地下室(含外墙板)就会相当大,可以依后浇带为界,也可以通过设立“非标准”段来划分,施工时需要协调。
(1)非规格宽度:小于设定的最小值或尺寸尾数非“逢五逢十”的拼模
①“阳面”非规格
附图说明:图中宽度标注中括号内的“非”为“非规格尺寸”,而序号前的“n”表示为“n”块(板)。其中“02(非)”表示为非规格尺寸的“仿制阳板”。当“02(非)”的宽度尺寸大于10cm 时需安装螺杆,内顶盖用“顶托”替代(如上左图),穿螺杆孔位置可根据竖向钢筋位置避开。当“02(非)”的宽度尺寸小于10cm 时可不用螺杆(如上右图),并建议采用图中“易拆方式”(“外板”去除螺钉后可与旁边的模板一起“顶出”),非规格组合的“对齐”与“入槽”只需不影响穿螺杆的位置。另外,左图上“25”标注表示为螺杆可向右侧偏移25mm。
②“阴阳面”非规格

[注]:图中表示方式及拼模时应注意的事项同前,纵向“03(非)”段,所采用的“体外对拉”及“单边拉结”均按照“自制板”应采用“顶托”替代“内顶盖”,“单拉锚固”螺杆适用于柱端砌墙段,可方便安装墙体拉结筋(参见上图)。横向“阴阳面”采用“02(非)的组合,当“02(非)”宽度大于 10cm 时需设置对拉螺杆。图中其他表示方式及拼模方法同前,其中括号内的“40”“20”为隶属序号板的具体规格(厘米),“20+2k”表示为“加码面”尺寸。
③“阴面”非规格

当构件“阴面”的宽度尺寸小于“标码替代延续阴性”所限制的80cm,及“减码替代延续阴性”所限制的90cm尺寸时,可将“标码替代延续阴性”中的“02(b)”,“减码替代延续阴性”中的“01(b-2k)”均改作“02(非)”且将括号内的“拆”也控制在10cm 左右;便可适合“阴面”的宽度尺寸在70cm 之上的组合拼模(参见上图)。
当构件“阴面”的宽度尺寸在70~50cm 时,可采用仿制“中板”形状特征制作“可拆解式”“03(拆)”完成阴面组合拼模(参见下图左侧)。
当构件“阴面”的宽度尺寸在50~20cm 时,可采用仿制“阴板”形状特征制作“可拆解式”“01(拆)”完成阴面拼模(参见下图右侧)。
附图说明:“可拆解式”“03(拆)”及“01(拆)”由部分主体“浅木纹”加及侧板“中灰色木纹”及“带黑色圆点”正方形或矩形“坎条”等组成,其中主体与侧板用木螺钉连接,“坎条”可用方档压住(没有连接)。当需要拆模时可先拆除木螺钉,再用“合成螺杆”“顶出”“主体”,使“侧板”有向“中间”侧移的空间,这样图中“01(拆)”及“03(拆)”两侧的模板便无拆除障碍。
4、构件高度面结合施工需要“模数化”加“阳板横铺”使得“镶坎”量相当少
概念 1、构件高度面:是指竖向构件(柱、墙板)立面剖视图上竖向直线的距离(高度)。其特征是基本为“直线”(表示为平面);线段与线段的夹角基本是直角;但高度面尺寸的“尾数”“非逢五逢十”居多(同楼层有不同标高、相邻开间有不同楼板厚度)。
概念 2、这里的施工需要:是指竖向构件与水平构件(梁、板)因不同的拆模时间而无法实现“规格板”在节点阴角处的“双拆”,且根据高度特征“非逢五逢十”居多,在设置模板及实际拼模时是考虑采用“镶坎”的。
概念 3、模数化:
特指模块(模板)的高度设置在用于构件高度拼模时,从楼层面起(阳坎朝下见图)的铺设高度均为 40cm 的倍数加k,可表述为 n40+k(k≈1cm)。
概念 4、“阳板横铺”:
当高度拼模到 n40+k(模数段)且离板底(梁底)约 26~66cm 时,可把阳板宽度当作高度来拼模,用“H02(b)”来表示(见图),并把“横铺板”作为模板高度方向拆模的“起始板”;另外这里也可以采用“阴板横铺”只是需要将减码面朝向砼。“便拆坎条”:当高度拼模到 n40+k(模数段)且离板底(梁底)约26~66cm 时,无法采用“阳板横铺”时,可直接采用“镶坎”,但模数段与镶坎段间需设置“便拆坎条”,使模数段的最上一块模板能成为模板高度方向拆模的“起始板”(见图)。
“破拆板”
当您看完上述简单介绍后,如果对这款产品的市场性能和经济价值的简单介绍包括对产品使用者与投资方利益等方面的初步分析,有兴趣可与我联系以共同探讨。看看是否还有遗漏或不足,以谋求共同努力来谋求知识产权成果的顺利转化,实现模板的一次更新换代时期的到来——这是一项宏伟的事业!
就此
谢谢阅读!